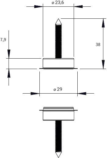
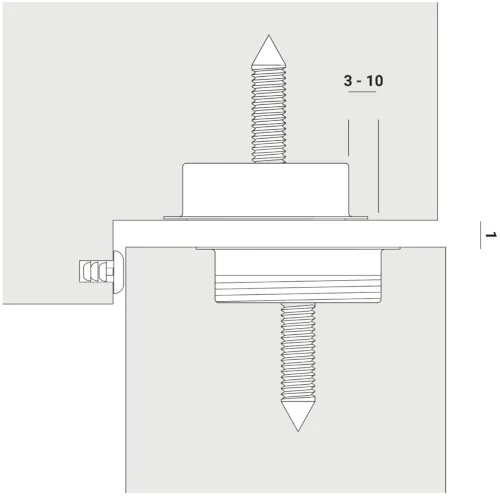
Mušla na posuvné dvere JNF...
91,38 €
Základná cena
-15%
107,50 €
Cena


